专利代理师和发明人属于不同的职业角色,具有不同的职业习惯和思维模式,因此双方对于同一事物的认知和理解可能存在差异。一件高质量的专利基于专利代理师对技术方案的理解,所以,在撰写专利申请文件过程中,沟通就显得至关重要。
一、专利代理师与发明人沟通的目的
1.了解技术交底书的完整方案
专利代理师与发明人的沟通需要在对技术交底书有一定理解、查阅相关资料及初步检索的基础上进行,从而保证双方的沟通具有一定的对话基础,也更具针对性。而部分技术交底书中对技术方案的描述过于笼统、含糊且缺乏一定的逻辑性,导致专利代理师通过阅读技术交底书无法完全理解技术方案的整个脉络。因此理解完整方案是专利代理师与发明人沟通的首要目的。
2.挖掘技术交底书的发明构思
发明构思对于专利代理师判断技术交底书的新创性非常重要,尤其是针对半导体等特定领域,必要时可以将发明构思记载于专利申请文件中以增加授权前景。通过沟通,可以引导发明人对发明构思做出进一步的梳理及挖掘。
3.判断技术交底书的新创性
通过沟通,专利代理师会进一步了解技术方案与检索到的对比文件的区别点,从而判断技术方案是否具有新颖性和创造性。专利代理师还可以结合专利法的相关要求给出合理的改进建议,以便于提高该技术方案的授权前景。
4.扩展技术方案并确定合理的保护范围
扩展技术方案是专利代理师专业能力的体现,通过引导、挖掘扩展技术方案进而扩大专利的保护范围。
二、专利代理师与发明人沟通的注意事项
1.预约合适的沟通时间
具体根据代理师和发明人的实际情况,提前预约沟通的时间。
2.采用合理的沟通方式
建议采用直接沟通的方式,比如与发明人见面沟通、通过电话沟通,这样的沟通更加高效、明了。微信、邮件等书面方式可以作为辅助。
3.注意沟通的及时性和态度
双方需要耐心听取对方的意见,确保沟通的连续性和信息的准确性。双方针对对方提出的疑问及时回复,以提高沟通的效率。沟通中注意使用礼貌用语,明确发明人下一次反馈的内容及时间。为了保证沟通效率,在沟通前,建议列出需要讨论的问题清单。
三、案例分析
案例1:发明点在于网络结构的改进
图1是发明人初次提供的技术交底书中的网络结构图,网络结构较简单。但是技术交底书的技术方案与图1内容不对应,比如技术交底书中提及了CBS结构、C3模块、双向特征金字塔网络,但图1中并未体现。因此,专利代理师无法理解如何利用该网络结构解决对应的技术问题,达到相应的技术效果。
图1
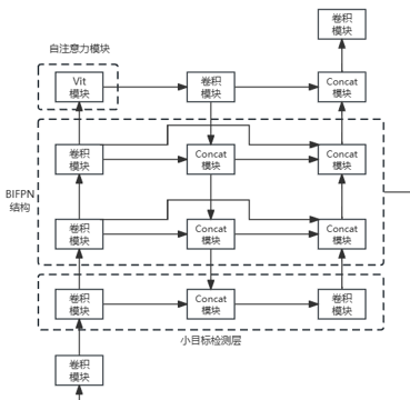
经过沟通,发明人重新提供了图2的网络结构,不仅将CBS结构、C3模块、双向特征金字塔网络体现在了网络结构中,同时还引入了C3_TR_3模块、C3_TR_6模块、C3_TR_9模块,以及弱小目标检测层、两条虚线连接的结构,并说明了可以带来的技术效果。通过这样的修改,使技术交底书的描述与网络结构图相对应,技术方案更加清楚、完整,而且引入的技术方案提高了技术方案的创造性。
图2
案例2:发明点在于数据传输过程中协议的改进
图3是发明人初次提供的数据传输系统结构图,初一看,图3中的摄像头与服务器通信的方式是常规的技术手段,无法看出技术方案的改进点,因而容易判断为该技术方案创造性不足。
图3
经过沟通,了解到目前普通摄像头、智能摄像头是分别与服务器进行数据传输,而图3是普通摄像头通过智能摄像头与服务器进行数据传输。经过引导发明人进行补充修改,新提供的技术方案中增加了重新定义的数据传输协议,以及如何通过重新定义的数据传输协议实现普通摄像头与智能摄像头之间的数据传输,进而实现智能摄像头与服务器之间的数据传输。通过这样的修改,突出了发明点,体现了技术方案的非显而易见性。
通过上述2个案例可以看出,经过沟通,专利代理师才能更加充分地理解技术方案,可以更准确地引导发明人补充、完善技术交底书,也能帮助发明人挖掘扩展技术方案,这不仅增加了专利的授权率,还帮助专利代理师对专利保护范围进行合理的布局。
